États-Unis

États-Unis

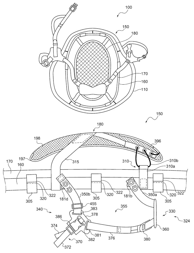
Individual replacement kit Lightweight Helmet

INDIVIDUAL REPLACEMENT KIT: LIGHTWEIGHT HELMET

INDIVIDUAL REPLACEMENT KIT: LIGHTWEIGHT HELMET
INDIVIDUAL REPLACEMENT KIT: LIGHTWEIGHT HELMET
INDIVIDUAL REPLACEMENT KIT: LIGHTWEIGHT HELMET
World War Helmets utilise des traceurs afin de collecter certaines informations relatives aux visites de manière anonyme comme l'adresse IP pour identification du pays, temps de visite, pages consultées, informations techniques du périphérique utilisé (système d'exploitation, version du navigateur, résolution... etc.).
En poursuivant votre navigation, vous acceptez la collecte de ces données à des fins de statistiques pour mesurer l'audience et améliorer la navigation du site.