Russie
Casque Ssh 60
Fiche
- Dénomination : "Стальной шлем образца 1960 года" ("CШ 60" - Ssh 60).
- Destiné à une utilisation générale.
- Coiffe constituée de quatre pattes en toile cirée montées sur lames ressort.
- Jugulaire en cuir, fermeture par boucle à ardillon.
- Camouflage : peinture ou couvre-casque.
- Fabriqué à partir de 1961.
- Distribué à partir de 1966.
- Pays d'origine : Russie (URSS).
- Période d'utilisation : de 1966 aux années 2000.
- Matériaux : acier 36СГНА.
- Poids : 1180 g (taille 1).
- Taille : 3 tailles.
- Couleur : vert olive.

Historique
|
L'armée soviétique des années 1950 et 1960, à l'instar des forces du pacte de Varsovie, continue de porter un casque dont la forme s'inspire des casques Ssh 39 et Ssh 40 utilisés durant la seconde guerre mondiale, symbolisant la victoire de la "Grande Guerre Patriotique". |
![]() Casque Ssh 40 de l'usine "Octobre rouge" fabriqué en 1958. |
La réponse à cette problématique est trouvée en abandonnant le principe d'une armature globale et en mettant en place des lames ressort propre à chaque patte.
Un nouveau type de rivet à section carré est conçu afin d'éviter le pivotement de ces différents éléments. Chaque élément de la coiffe, maintenu au fond de la bombe, est relié à la patte voisine à l'aide d'un lacet dont la tension permet de modifier la circonférence de la coiffe.
Conçu en 1960, ce nouveau casque est désigné casque Ssh 60 ("Стальной шлем образца 1960 года" - "CШ 60") et une présérie est fabriquée dès 1961 pour essais.
La conception de la bombe reste inchangée et est toujours fabriquée en acier 36 SiMnNi (nommé I-1 au sein de l'usine de production, en russe : 36 СГНА (И-1)), composé de 0,36% de carbone (C), 1 à 1,3% de silicium (Si), 1,1 à 1,4% de manganèse (Mn) et 1% de nickel (Ni) comme l'ensemble des casques soviétiques depuis 1936.
La production à grande échelle du casque Ssh 60 démarre seulement en 1966 au sein de l'usine "Octobre rouge" de Volgograd. Elle cessera en 1973 lorsque la chaîne de production est modifiée pour produire le casque Ssh 68. Celui-ci marque une rupture avec la forme du casque Ssh 39 et s'inscrit dans la grande réforme uniformoloqique de 1969.
Malgré l'adoption du casque Ssh 68, le casque Ssh 60 est resté très utilisé jusqu'à la fin des années 1990, conjointement aux casques Ssh 40 et 68 (et parfois même Ssh 39).
Ce casque est encore employé en 2020 au sein de l'armée russe, où il coiffe encore les jeunes recrues durant leur entraînement.



Constitution
La coque :

Planche technique du casque Ssh 60.
La bombe du casque Ssh 60 conserve la forme du casque Ssh 40, elle-même héritée du casque Ssh 39 créé en 1939. Le casque Ssh 60 est exclusivement produit au sein de l'usine métallurgique "Octobre rouge" de Volgograd. Cela inclut la production de l'acier, la mise en forme de la bombe et l'installation de l'aménagement intérieur.
La fabrication de la bombe du casque Ssh 60 reste identique à celle du casque Ssh 40. Le casque Ssh 60 est produit à partir d'un alliage d'acier au nickel 36СГНА (désignation en usine И-1) déjà employé depuis 1936 dans la fabrication des casques soviétiques.
L'acier est formé par fusion de 5% de chaux, 45% de ferraille et 50% de fonte, avec lesquels sont ajoutés des additifs, à hauteur de moins d'1%, permettant d'obtenir une résistance balistique suffisante (Silicium/Nickel/Manganèse ayant pour proportions respectives : 1,05-1,45% / 0,9-1,2% / 1,05-1,55%).
Les matériaux sont mis en fusion durant plusieurs heures dans un four martin, puis coulés dans des lingotières. Après un refroidissement, les lingots obtenus sont laminés pour former une plaque d'acier dans laquelle sont découpés des plaques d'acier rectangulaires.
Ces plaques sont laminées afin d'obtenir l'épaisseur souhaitée puis des disques y sont découpés à la presse. Ces disques d'acier sont mis en forme par emboutissage unique dans une presse hydraulique afin de donner la forme du casque. Les casques Ssh 60 sont fabriqués en trois tailles :
- Taille 1 : jusqu'à 55 cm de tour de tête (50% de la production).
- Taille 2 : de 56 à 59 cm de circonférence (46,67% de la production).
- Taille 3 : à partir de 60 cm (3,33% de la production).
Après mise en forme, les bombes brutes sont cuites au four à 750-800°, puis après refroidissement la bordure du casque est découpée pour lui donner sa forme définitive. Les bombes sont percées de six trous effectués à la presse, quatre pour la coiffe et deux pour les passants de jugulaires. Ces trous affectent une forme carrée disposée en losange. Les bombes sont estampées à l'arrière où sont indiqués la taille et le numéro de lot d'acier utilisé pour la fabrication. Le numéro de lot d'acier permet de retirer l'intégralité d'un lot si l'acier produit ne répond pas aux exigences balistiques.
Le lot de bombes produites subit ensuite un traitement thermique. Il est recuit durant 25 minutes à une température de 750-800° puis est trempé dans de l'huile de coton. L'huile est ensuite nettoyée à la soude caustique et les bombes sont mises au repos à une température de 150 à 250°.
Lorsque le traitement thermique des casques est achevé, un échantillonnage est prélevé pour des essais balistiques afin d'approuver l'acier produit. Lorsque les tests sont concluants, les casques d'un même numéro de lot d'acier sont certifiés par une étoile estampée sous la visière sur ordre du représentant militaire en charge de la balistique.
Avant mise en peinture, les bombes sont désoxydées par sablage puis apprêtées à l'aide d'un primaire de couleur rouge brique. L'observation de la couleur des parois intérieurs sous les lames ressorts supportant la coiffe permet d'établir que les bombes sont pré-peintes avant l'installation de celles-ci à l'aide d'un rivet à tête hémisphérique. Après rivetage de ces supports, les coques reçoivent une dernière couche de peinture de couleur vert olive clair.
La peinture employée est nommée "nitrokraska" et la formule est désignée KhV-518 (XB-518 en alphabet cyrillique). Elle est basée sur une laque aux propriétés anticorrosive, résistante à l'eau et séchant rapidement.
1966
![]() Vue avant. |
![]() Vue de côté. |
![]() Vue arrière. |
![]() Vue de dessus. |
1967
![]() Vue de biais. |
![]() Vue de côté. |
1968
![]() Vue de biais. |
![]() Vue de côté. |
1969
![]() Vue de biais. |
![]() Vue de côté. |
1971
![]() Vue de biais. |
![]() Vue de côté. |
1972
![]() Vue de biais. |
![]() Vue de côté. |
L'insigne.
![]() Vue de biais. |
Les casques soviétiques ne reçoivent plus d'insigne en usine depuis 1940. Les casques Ssh 60 sont donc tous exempts d'insigne peint lors de la fabrication. On observe cependant quelques exemples d'insignes frontaux représentant une étoile rouge, symbole de l'armée rouge, avec parfois le marteau et la faucille relatifs au régime communiste. Ces insignes étaient appliqués au pochoir à l'aide d'un pistolet à peinture généralement à l'occasion de défilés. Le casque Ssh 60 fut aussi employé au sein des troupes de régulation routière, les unités K ("Komandirovka"), où il fut au départ employé avec une large bande rouge surlignée de blanc peinte sur les trois quarts du contour du casque avec une étoile rouge peinte à l'avant elle aussi surligné de blanc. On observe ce type de mise en peinture lors de l'intervention soviétique en marge du printemps de Prague en 1968, toutefois ceci se rencontre presque exclusivement sur des casques Ssh 40 ou Ssh 40 M. |
Les marquages.

Marquages appliqués à l'arrière sur un exemplaire de 1967.

Marquages appliqués à l'arrière sur un exemplaire non daté.
Les casques Ssh 60 sont produits exclusivement par l'usine métallurgique "Octobre rouge" de Volgograd, seule usine à produire des casques pour le compte de l'armée soviétique depuis l'arrêt de la production de l'usine métallurgique de Lysva en 1950. Les casques produits par "Octobre rouge" sont systématiquement marqués lors de leur fabrication. Les marquages sont soit estampée dans l'acier de la bombe ou imprimé à l'aide de tampons encreurs de couleur noir pour l'année de production, la taille du casque, l'identification de l'atelier de production et diverses marques de contrôles.

![]() 1961 (pré-série). |
![]() 1966. |
La première série de casques Ssh 60 produite en 1961 à titre d'essai reprend le marquage adopté en 1954 par l'usine "Octobre rouge". À cette date, les trois lettres "ЗКО" sont remplacées par les lettres "CT" pour Stalingrad (en russe : "Сталинград"). |
Cette marque est appliquée à l'aide d'un tampon de forme presque carré. Il présente à gauche la raison sociale de l'usine avec l'acronyme "ЗКО" pour "Завод Красный Октябрь". À droite sont indiqués le numéro de taille précédé de la lettre P ("Rost"), et en dessous figure les deux derniers chiffres de l'année de production suivis de la lettre "r." ("Goda"). Le casque Ssh 60 fut produit de 1966 à 1973. On notera que sur certains casques Ssh 60 seule la taille du casque précédée de la lettre P est tamponnée dans un cartouche rectangulaire. Ces fabrications portent les caractéristiques d'un début de production de 1966 à 1967 et nous ignorons pourquoi ces fabrications ne portent pas l'indication de l'usine et la date de production.
![]() 1967. |
![]() 1968. |
![]() 1969. |
![]() 1970. |
![]() 1971. |
![]() 1972. |
![]() Etoile sous la visière. |
![]() Etoile à quatre branches à partir de 1967. |
La visière reçoit une étoile estampée à froid, appliquée lors de la fabrication du casque lorsque le traitement thermique des casques est achevé. Un échantillonnage est prélevé pour des essais balistiques afin d'approuver l'acier produit. Lorsque les tests sont concluants, les casques d'un même numéro de lot d'acier sont certifiés par une étoile à estampée sous la visière sur ordre du représentant militaire en charge de la balistique. Si les essais sont jugés insatisfaisant, l'intégralité des casques produits est refondue.
Cette étoile est identique à celle appliquée sur les casques Ssh 40 de l'usine "Octobre rouge", elle change à partir de 1967 pour une étoile à quatre branches.
Les numéros de lot d'acier.
![]() 1966. |
![]() 1966. |
![]() 1967. |
![]() 1967. |
![]() 1967. |
![]() 1969. |
![]() 1970. |
![]() 1970. |
![]() 1971. |
![]() 1972. |
![]() 1972. |
![]() Sans date. |
L'arrière de chaque casque produit par "Octobre rouge" reçoit un marquage estampé directement dans l'acier au niveau de la nuquière. Ce marquage indique la taille du casque (1 à 3) suivi d'un numéro de lot d'acier. La taille et le numéro de lot d'acier peuvent être séparés d'un tiret ou de deux points.
Le numéro de lot d'acier est noté jusqu'à cinq chiffres. La séquence de cette numérotation semble avoir été réinitialisé à plusieurs reprises durant la production.
Le numéro de lot d'acier permet d'identifier l'ensemble d'une production de casques fabriqués avec cet acier. Si les tests balistiques effectués sur un échantillonnage ne répondent pas aux exigences le lot est alors écarté et les casques sont refondus.
Les numéros d'atelier.
Quelques exemples de numéros d'atelier (ne tient pas compte d'un ordre chronologique).
Les casques soviétiques comportent un numéro appliqué au tampon encreur de couleur noire. Ce marquage identifie l'atelier chargé de la production du casque afin de permettre un éventuel suivi de la production.
Ces numéros peuvent comporter de deux à quatre chiffres et sont généralement tamponnés à proximité du marquage appliqué par le fabricant.
Les tampons de réception.
Quelques exemples de tampons de réception (ne tient pas compte d'un ordre chronologique).
Les casques soviétiques reçoivent généralement un tampon de réception de forme circulaire contenant une étoile aux branches concave et contenant un numéro. Sur l'ensemble des casques Ssh 60 observés, seuls les numéros 10 et 16 ont été rencontrés.
Cette marque est bien souvent appliquée sur la zone arrière du casque à proximité du marquage de l'usine.
Les tampons de contrôle.
Quelques exemples de tampons de contrôle (ne tient pas compte d'un ordre chronologique).
Chaque casque produit au sein de l'usine "Octobre rouge" passe plusieurs étapes de vérification lors de sa fabrication. Un tampon est appliqué lorsque le casque passe une étape de contrôle. Jusqu'au début de la production du casque Ssh 60, cette marque se composait de la simple lettre K ou des lettres OTK suivi d'un numéro (pour "Отдел Технического Контроля", soit "Otdyel Tekhnicheskovo Kontrolya" en alphabet latin). Cette marque est appliquée par le département de contrôle technique en charge d'inspecter la conformité des fabrications. Cela est valable pour l'ensemble des effets de l'armée soviétique.
Dès le début de la production du casque Ssh 60 cette marque est simplifiée par un cercle contenant un numéro. Un casque peut présenter une à plusieurs marques de contrôle dans la bombe.
La coiffe :
![]() Support élément de coiffe en T. |
![]() Patte de coiffe fabriquée en simili-cuir. |
![]() Attaches parisiennes. |
![]() Passage du lacet de réglage en profondeur. Patte de coiffe coupée en pointe. |
![]() Découpe en forme de sablier à partir de 1971/72. |
![]() Patte de coiffe maintenue par deux attaches parisiennes. |
![]() |

Détails maintien, doublure en feutre. Noter le pli de la patte de coiffe en simili-cuir.

Pas de repli sur les coiffes fabriquées en cuir. Les éléments latéraux de laçage ne sont pas couvert.
![]() Jointure éléments de coiffe par laçage. |
![]() |
![]() Patte de coiffe en cuir blanc. |
![]() Simili-cuir brun. |
![]() Simili-cuir vert. |
La coiffe du casque Ssh 60 abandonne le principe des trois pattes solidaires à la bombe. Elle est désormais fixée sur quatre lames ressort rivetées au fond du casque à l'aide d'un rivet mécanique à tête hémisphérique. Chaque lame, en forme de T, est constituée de deux bandes métalliques flexibles de dimension 2 x 10 centimètres. Elles sont assemblées à l'aide de deux petits rivets mécaniques à tête cylindrique. La lame placée horizontalement, et qui supportera la patte de coiffe présente un trou de 5 millimètres à chacune de ses extrémités. L'orifice a la base du T, est qui sera fixé sur la coque, est de forme carrée disposé en losange. Cet orifice est identique à celui fait dans la bombe. Il permet, grâce à l'utilisation de rivets a section carrée d'éviter le pivotement des lames ressort.
Lorsque la coiffe n'est pas installée, la flexibilité des lames fait que ces supports sont plaqués contre les parois du casque. Les pattes de coiffe sont généralement fabriquées en similicuir, bien que l'on observe certaines fabrications en cuir blanc en début de production. Le similicuir employé peut présenter différentes couleurs, variant de plusieurs nuances de marron, au noir ou encore au vert. La largeur des pattes est de 10 centimètres.
Pour les coiffes fabriquées en similicuir, la base de la patte est en partie repliée sur elle-même et cousue avec une bande de feutre de même largeur. Cette dernière est pliée en deux pour servir de rembourrage et d'isolation. Les bords inferieurs de la patte, qui seront fixe sur la lame ressort, reçoivent de part et d'autre des passants qui permettront de relier les pattes entre elles a l'aide de lacets. C'est ce qui permettra d'ajuster la taille du casque.
Pour les coiffes fabriquées en cuir, la largeur inférieure n'est pas repliée sur elle-même, le cuir étant un matériau considéré comme suffisamment solide. L'élément de rembourrage en feutre est directement cousu sur le cuir. Les passants joignant les pattes de coiffe entre elles sont directement cousu de part et d'autre de chaque patte.
Ces passants, de 25 mm de large, sont fabriqués à partir d'une bande de cuir blanc présentant un orifice en leur centre. Ils sont pliés en deux et cousu sur les côtés à la base de chaque patte de coiffe grâce à une couture en Z.
La base de chaque patte de coiffe est perforée de deux trous pour permettre leur fixation sur les lames ressort fixées à la bombe par des attaches parisiennes de petite longueur. Ces attaches parisiennes sont anodisées afin de les protéger de l'oxydation.
La seconde moitié de la longueur de chaque patte de coiffe est découpé en biseau. Le sommet est replié sur lui-même et cousu pour permettre le passage du lacet de réglage en profondeur.
À partir de 1971/72, cette extrémité est taillée en forme de sablier sans doute dans l'optique de mieux répartir la tension du lacet.
Chaque patte de coiffe est reliée à sa voisine par un lacet dont la tension permet le réglage de la circonférence de la coiffe. En relâchant la tension de chaque laçage, les pattes de coiffe sont plaquées contre les parois du casque, permettant ainsi le port d'une coiffure fourrée en condition hivernale.
![]() Coiffe en cuir blanc, exemplaire de 1966. |
![]() Coiffe de couleur brune, exemplaire de 1967. |
![]() Coiffe de couleur noire, exemplaire de 1967. |
![]() Coiffe de couleur noire, exemplaire de 1969. |
![]() Coiffe de couleur brune, exemplaire de 1972. |
![]() Coiffe de couleur verte, exemplaire de 1972. |
Les marquages.
![]() Marquage du fabricant du matériau. |
Tout comme les bombes, les coiffes peuvent comporter des marques de contrôles tamponnées sur le revers en toile du similicuir. Ces marques suivent la même évolution que celles appliquées dans la bombe. À savoir au départ la lettre K ou la mention OTK suivie d'un numéro puis rapidement un cercle contenant un numéro. Ces numéros peuvent aussi occasionnellement être contenu dans un rectangle ou être sans contour. On observe aussi la présence de marque liée au fournisseur du matériau. C'est notamment le cas pour les coiffes fabriquées en cuir qui peuvent présenter un marquage propre à la tannerie ayant produit le cuir. |
Quelques exemples de tampons de contrôle (tient compte de l'ordre chronologique).
La jugulaire :
![]() Dimension support jugulaire. |
![]() |
![]() Montage en toile, boucle ronde. |
![]() |
![]() Montage en cuir, boucle plate. |
![]() |
![]() Vue sur la tranche. |
![]() Revers en toile, boucle ronde. |
![]() Boucle plate. |
![]() |
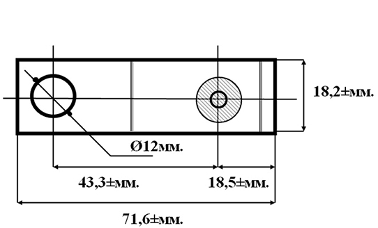
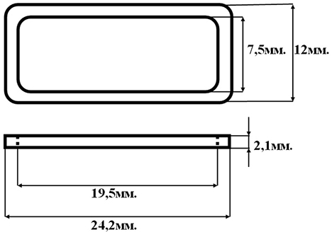
La jugulaire est fixée au casque grâce à des anneaux rectangulaires de dimension 12 x 24 millimètres, ils sont au départ de section ronde jusqu'en 1966/67 généralement avec une extension en toile. Puis ils sont identiques à ceux déjà employés dans les casques de fabrication soviétique (section plate).
Ceux-ci sont fixée sur la bombe grâce à une enchapure métallique, replié sur lui-même, et retenu par un rivet latéral. Ces rivets sont identiques à ceux employés pour la mise en place des supports de coiffe (section carrée). La face plaquée contre la paroi du casque est à nouveau replié pour bloquer la partie supérieure non solidarisée par le rivet. Cet élément métallique est identique à celui déjà employé dans la fabrication des casques de cette usine depuis 1951.
Cet ensemble métallique est recouvert d'une bande de cuir qui entoure l'ensemble et permet aussi le passage de la petite bande de cuir ou de toile qui est rivetée à l'extrémité de chaque jugulaire.

Jugulaire, vue d'ensemble (revers).

Jugulaire, vue d'ensemble (envers).

Jugulaire fermée.
![]() Patelette en cuir de protection et anneau de maintien de l'exécent de jugulaire. |
![]() Tampon de contrôle. |
![]() Schéma jugulaire. |
Le casque Ssh 60 était initialement prévu pour être équipé d'une jugulaire en toile avec une fermeture par une boucle à clapet. |
Le conditionnement :
![]() 1966. |
![]() 1966. |
![]() 1967. |
![]() 1969. |
![]() 1972. |
![]() 1972. |
Les casques sont conditionnés dans du papier ciré puis emballés par 30 unités avant distribution dans des caisses en bois où ils sont répartis comme suit :
- Taille 1 – 15 pièces.
- Taille 2 – 14 pièces.
- Taille 3 – 1 pièces.
Chaque caisse comprend un manuel d'instruction et une liste de colisage.
Le camouflage additionnel :
Bien qu'il n'existe aucun artifice de camouflage additionnel officiel dans l'armée soviétique pour les casques en acier de manière générale, on observe toutefois des pratiques individuelles ou collectives d'amélioration du camouflage du casque Ssh 60.
Camouflage KLMK.
![]() Vue de biais. |
![]() Vue de dessus. |
![]() Vue à plat. |
![]() Détails maintien. |

Autre exemplaire avec coupe différente.
L'utilisation de couvre-casque en toile bariolé est bien souvent faite à l'initiative du soldat en employant un morceau de toile coincé entre la bombe et la coiffe du casque.
Toutefois on observe des couvre-casques produits dans des ateliers régimentaires dont la conception est souvent similaire. Ces couvre-casques peuvent être fabriqués à partir de deux à trois morceaux de toile cousus longitudinalement ou quatre morceaux cousus en croix à partir du point sommital du casque. Un ourlet est pratiqué à la base du couvre-casque pour le passage d'un lacet assurant le maintien sur le casque.
Le casque Ssh 60 est fréquemment employé avec des couvre-casques arborant le schéma de camouflage KLMK ("Kamuflirovannyi Letnyi Maskirovochnyi Kombinezon") employé à partir de 1968 dans l'armée soviétique. Ce camouflage est constitué de tâches de couleur grise à beige dont les contours présentent des découpes géométriques sur fond vert.
Camouflage KZS.

Couvre-casque camouflage KZS.
Le camouflage KZS ("Kostium zashchitnoi seti") apparait en 1975 pour des tenues deux pièces. Il sera très largement utilisé lors de la guerre d'Afghanistan.
Camouflage ukrainien "boutane".
![]() Vue avant. |
![]() Vue de dessus. |
![]() Détails maintien. |
![]() Vue à plat. |
En 1981 l'union soviétique sort un nouveau modèle de camouflage, le TTsKo ("tritsvetnaia kamuflirovannaia odezhda") ou camouflage à 3 couleurs.
Celui-ci est plus connu sous le nom de "Бутан" ("boutane") et aura une longue carriere, y compris dans les ex-république soviétique.
Les modèles de couvre-casques présentés sont ukrainien. Ils sont fabriqués à partir de trois morceaux de toile cousus longitudinalement et un élastique est inséré dans l'ourlet pratiqué à sa base afin d'en assurer le maintien. Certains exemplaires peuvent comporter des boutonnières pour l'ajout de branchage.
Ce couvre-casque est conçu pour s'adapter à tout type de casque d'origine soviétique.
Camouflage ukrainien "boutane" désert.
![]() Vue avant. |
![]() Vue de dessus. |
![]() Détails maintien. |
![]() Vue à plat. |
Le camouflage "boutane" à dominance verte fut aussi décliné dans une version présentant des tâches de couleur sable/beige pour les milieux désertiques.























































































