Russie
Casque Ssh 68
Fiche
- Dénomination : "Стальной шлем образца 1968 года" ("CШ 68" - Ssh 68).
- Destiné à une utilisation générale.
- Coiffe constituée de quatre pattes en toile cirée montées sur lames ressort.
- Jugulaire en cuir, fermeture par boucle à ardillon puis à l'aide d'une boucle coulissante.
- Camouflage : peinture ou couvre-casque.
- Fabriqué à partir de 1973.
- Distribué à partir de 1973.
- Pays d'origine : Russie (URSS).
- Période d'utilisation : de 1973 aux années 2010.
- Matériaux : acier 38ХСЗНМФА.
- Poids : 1290 g (taille 2).
- Taille : 3 tailles.
- Couleur : vert olive.

Historique
|
La forme du casque de l'armée soviétique est restée inchangée depuis l'adoption du casque Ssh 39 en juin 1939. Modernisé à deux reprises, une première fois en 1940 afin de permettre le port du casque avec une coiffure fourrée en hiver avec l'adoption du casque Ssh 40 où seul l'aménagement intérieur est revu. Puis une seconde fois en 1960 où l'intérieur du casque est totalement revu avec la création du casque Ssh 60. |
![]() Casque Ssh 68 de l'usine "Octobre rouge" fabriqué en 1972. |
L'épaisseur du casque dans la zone à tester est mesurée avant chaque tir à l'aide d'un micromètre adapté ayant une précision de 0,01 millimètre. Le casque est placé sur un gabarit spécial en bois permettant de le positionner selon une orientation jugée commune à une utilisation en condition de combat. Les essais sont effectués avec une série de trois tirs d'armes à tir réduit sur chaque face du casque (avant, côté et arrière. La vitesse des projectiles est mesurée à chaque tir.

Essais balistique et comparaison avec le casque Ssh 60.
Le rapport conclue que le casque expérimental SSh-S produit en acier К1 présente une résistance balistique accrue entre 1,6 et 7,4 % par rapport au casque du Ssh 60 produit en acier И-1.
En octobre 1968, le département technique des affaires intérieures a examiné les résultats des tests présentés. Bien que l'objectif d'augmenter de 10% la résistance balistique du prototype n'a pas été atteinte, les résultats globaux sont jugés satisfaisant pour une mise en production de ce nouveau casque. Celui-ci est nommée Ssh 68 en relation avec son année d'adoption. La production de ce nouveau casque sera effectuée après une dernière étape d'inspection et de préparation pour la production en série de l'usine "Octobre rouge".
Cette dernière étape s'achève en 1972 avec la conclusion d'une commission interdépartementale dont le rapport est fourni au comité technique du département des affaires intérieures. Celui-ci prend la décision de remplacer la production du Ssh-60 par le Ssh-68 durant la seconde moitié de l'année 1973.
L'adoption du casque Ssh 68, avec sa forme caractéristique, modifie considérablement l'image du soldat soviétique. La tenue de celui-ci avait peu évolué depuis la Grande Guerre Patriotique. Cela s'inscrit également dans une refonte complète de l'uniformologie soviétique entamée en 1969. Ce nouveau casque sera surnommé "cone head" par les soldats américains qui l'ont rencontré sur des soldats cubains lors de l'opération "Urgent fury" en réponse à l'invasion de l'île de la Grenade.
Le casque Ssh 68 fut principalement employé durant la guerre d'Afghanistan de décembre 1979 à février 1989. Il fut d'ailleurs très employé par les forces afghanes suite à ce conflit.
Le casque Ssh 68 a été fabriqué exclusivement par l'usine métallurgique "Octobre rouge" située à Volgograd. De 1973 à 1992, environ 10 millions d'exemplaires ont été produit. La conception du casque Ssh 68 est restée inchangé durant toute la production à l'exception de la fermeture de la jugulaire à la fin des années 1980. Malgré l'utilisation depuis les années 2000 de casques en matière composite au sein de l'armée russe, le casque Ssh 68 reste encore très employé de nos jours notamment par les nouvelles recrues.
On note des essais de modernisation de ce casque au cours des années 2000, avec la création du casque Ssh 68M en 2002 dont l'intérieur du casque est doublé de matière composite et le casque Ssh 68 N dont l'aménagement intérieur est totalement revu.



Constitution
La coque :
Planche technique du casque Ssh 68.
La bombe du casque Ssh 68 rompt avec la forme traditionnelle des casques soviétique héritée du casque Ssh 39. Le casque Ssh 68 est exclusivement produit au sein de l'usine métallurgique "Octobre rouge" de Volgograd. Cela inclut la production de l'acier, la mise en forme de la bombe et l'installation de l'aménagement intérieur.
Le casque Ssh 68 est fabriqué à partir du nouvel alliage d'acier nommé 38ХСЗНМФА (désignation en usine К1) en remplacement de l'acier au nickel 36 СГНА (désignation en usine И-1) employé depuis 1936 dans la fabrication des casques soviétiques.
L'acier est formé par fusion de 5% de chaux, 45% de ferraille et 50% de fonte, avec lesquels sont ajoutés des additifs à hauteur de moins d'1%, permettant d'obtenir une résistance balistique suffisante.
Ces matériaux sont mis en fusion durant 12 heures dans un four martin, puis coulés dans des lingotières. Après un refroidissement de plusieurs heures, les lingots obtenus sont laminés pour former une plaque d'acier dans laquelle sont découpés des bandes d'acier laminé.
Des disques sont emboutis dans ces bandes d'acier puis sont mis en forme par emboutissages successifs dans différentes presses afin d'obtenir la forme du casque. Après mise en forme du disque d'acier, la bordure du casque est découpée puis ébavurée pour en adoucir le tranchant.
![]() Vue avant. |
![]() Vue de côté. |
![]() Vue arrière. |
![]() Vue de dessus. |
Le casque Ssh 68 est fabriqué en trois tailles :
- Taille 1 : jusqu'à 55 cm de tour de tête (50% de la production).
- Taille 2 : de 56 à 59 cm de circonférence (43,33% de la production).
- Taille 3 : à partir de 60 cm (6,67% de la production).
Les bombes sont percées pour l'installation ultérieure des supports de la coiffe et de la jugulaire. Les orifices sont de section carrée disposé en losange pour empêcher le pivotement des supports de coiffe.
Les bombes brutes subissent ensuite un traitement thermique. Elles sont d'abord cuites au four, trempées dans de l'huile, dégraissées puis mis à refroidir progressivement.
Lorsque le traitement thermique des casques est achevé, un échantillonnage est prélevé pour des essais balistiques afin d'approuver l'acier produit. Lorsque les tests sont concluants, les casques d'un même numéro de lot d'acier sont certifiés par un cercle estampé sous la visière sur ordre du représentant militaire en charge de la balistique.
Avant mise en peinture, les bombes sont désoxydées par sablage puis apprêtées à l'aide d'un primaire de couleur rouge brique. L'observation de la couleur des parois intérieurs sous les lames ressorts supportant la coiffe permet d'établir que les bombes sont pré-peintes avant l'installation de celles-ci à l'aide d'un rivet à tête hémisphérique. Après rivetage de ces supports, les coques reçoivent une dernière couche de peinture de couleur vert olive clair.
La peinture employée est nommée "nitrokraska" et la formule est désignée KhV-518 (XB-518 en alphabet cyrillique). Elle est basée sur une laque aux propriétés anticorrosive, résistante à l'eau et séchant rapidement.
1973
![]() Vue de biais. |
![]() Vue de côté. |
1978
![]() Vue de biais. |
![]() Vue de côté. |
1987
![]() Vue de biais. |
![]() Vue de côté. |
1990
![]() Vue de biais. |
![]() Vue de côté. |
Les marquages.

Marquages appliqués à l'arrière sur un exemplaire de 1978.
Les casques Ssh 68 sont produits exclusivement par l'usine métallurgique "Octobre rouge" de Volgograd, seule usine à produire des casques pour le compte de l'armée soviétique depuis l'arrêt de la production de l'usine métallurgique de Lysva en 1950. Les casques produits par "Octobre rouge" sont systématiquement marqués lors de la fabrication. Les marquages sont estampés dans l'acier de la bombe et imprimés à l'aide de tampons encreurs de couleur noir pour l'année de production, la taille du casque, l'identification de l'atelier de production, et diverses marques de contrôles.

Marquages appliqués sous la visière d'un exemplaire de 1987.
L'indication de taille et le numéro de lot d'acier ayant servi à la production du casque ne sont plus estampés à l'arrière mais sous la visière du casque. Aussi, l'étoile habituellement estampée sous la visière des casques soviétiques depuis 1940 lors des contrôles balistiques est abandonnée au profit d'un petit cercle.

![]() 1973. |
![]() 1974. |
![]() 1975. |
![]() 1976. |
![]() 1978. |
![]() 1980. |
![]() 1983. |
![]() 1984. |
![]() 1985. |
![]() 1987. |
![]() 1988. |
![]() 1989. |
![]() 1990. |
![]() 1991. |
![]() 1992. |
L'usine "Octobre rouge" utilise un tampon de forme presque carré. Il présente à gauche la raison sociale de l'usine avec l'acronyme "ЗКО" pour "Завод Красный Октябрь". À droite sont indiqués le numéro de taille précédé de la lettre "P" ("Rost"), et en dessous figure les deux derniers chiffres de l'année de production suivis de la lettre "r." ("Goda").
Rappelons que le marquage CT (Pour Stalingrad, en russe : "Сталинград") a été abandonné à partir de 1961 quand la ville sera renommée Volgograd ("Ville de la Volga") dans le cadre du programme de déstalinisation lancée par Nikita Khrouchtchev.Cette décision reste d'ailleurs sujette à polémique en raison du passé glorieux de la ville. Le casque Ssh 68 fut produit de 1973 à 1992.
Les numéros de lot d'acier.
![]() 1973. |
![]() 1973. |
![]() 1973. |
![]() 1974. |
![]() 1975. |
![]() 1975. |
![]() 1976. |
![]() 1978. |
![]() 1978. |
![]() 1983. |
![]() 1984. |
![]() 1985. |
![]() 1985. |
![]() 1985. |
![]() 1985. |
![]() 1987. |
![]() 1987. |
![]() 1987. |
![]() 1988. |
![]() 1988. |
![]() 1988. |
![]() 1988. |
![]() 1988. |
![]() 1989. |
![]() 1990. |
![]() 1990. |
![]() 1990. |
![]() 1992. |
La visière de chaque casque produit par "Octobre rouge" reçoit un marquage estampé à froid directement dans l'acier. Ce marquage indique la taille du casque (1 à 3) suivi d'un numéro de lot d'acier. La taille et le numéro de lot d'acier peuvent être séparés d'un ou deux points et sont le plus souvent séparés d'un espace.
Le numéro de lot d'acier permet d'identifier l'ensemble d'une production de casques fabriqués avec cet acier. Si les tests balistiques effectués sur un échantillonnage ne répondent pas aux exigences le lot est alors écarté et les casques sont refondus.
Durant la production du casque Ssh 68, on observe que les numéros de lots sont réinitialisés pour chaque année de production.
Les numéros d'atelier.
Quelques exemples de numéros d'atelier (ne tient pas compte d'un ordre chronologique).
Les casques soviétiques comportent un numéro appliqué au tampon encreur de couleur noire. Ce marquage identifie l'atelier chargé de la production du casque afin de permettre un éventuel suivi de la production.
Ces numéros peuvent comporter de deux à quatre chiffres et sont généralement tamponnés à proximité du marquage appliqué par le fabricant.
Les tampons de réception.
Quelques exemples de tampons de réception (ne tient pas compte d'un ordre chronologique).
Les casques soviétiques reçoivent généralement un tampon de réception de forme circulaire contenant une étoile aux branches arrondies et contenant un numéro. Sur l'ensemble des casques Ssh 68 observés, seul le numéro16 a été rencontré.
Cette marque est bien souvent appliquée sur la zone arrière du casque à proximité du marquage de l'usine.
Les tampons de contrôle.
Quelques exemples de tampons de contrôle (ne tient pas compte d'un ordre chronologique).
Chaque casque produit au sein de l'usine "Octobre rouge" passe plusieurs étapes de vérification lors de sa fabrication. Un tampon est appliqué lorsque le casque passe une étape de contrôle. Il peut donc présenter une à plusieurs marques de contrôle dans la bombe. Ce tampon est appliqué par le département de contrôle technique en charge d'inspecter la bonne fabrication ou OTK (pour "Отдел Технического Контроля", soit "Otdyel Tekhnicheskovo Kontrolya" en alphabet latin). Son application est commune à l'ensemble des effets de l'armée soviétique.
Sur les productions du casque Ssh 68 apparaît la marque simplifiée avec un cercle contenant un numéro.
La coiffe :
![]() Support élément de coiffe en T. |
![]() Patte de coiffe fabriquée en simili-cuir. |
![]() Attaches parisiennes. |
![]() Revers patte de coiffe, passant de jonction en cuir. |
![]() Passant de jonction en toile à partir de 1973. |
![]() Patte de coiffe maintenue par deux attaches parisiennes. |
![]() |

Détails maintien, doublure en feutre. Noter le pli de la patte de coiffe en simili-cuir.
![]() Jointure éléments de coiffe par laçage. |
![]() |

Différentes matières de simili-cuir.
La coiffe du casque Ssh 68 est reprise à l'identique de celle installée dans le casque Ssh 60. Elle est fixée sur quatre lames ressort rivetées au fond du casque à l'aide d'un rivet mécanique à tête hémisphérique.
Chaque lame, en forme de T, est constituée de deux bandes métalliques flexibles de dimension 2 x 10 centimètres. Elles sont assemblées pour à l'aide de deux petits rivets mécaniques à tête cylindrique. La lame placée horizontalement, et qui supportera la patte de coiffe présente un trou de 5 millimètres à chacune de ses extrémités. L'orifice a la base du T, est qui sera fixé sur la coque, est de forme carrée disposé en losange. Cet orifice est identique à celui fait dans la bombe. Il permet, grâce à l'utilisation de rivets à section carrée d'éviter le pivotement des lames ressort.
Lorsque la coiffe n'est pas installée, la flexibilité des lames fait que ces supports sont plaqués contre les parois du casque. Les pattes de coiffe sont exclusivement fabriquées en similicuir, alors que l'on observe certaines fabrications en cuir blanc dans les premières fabrications du casque Ssh 60.
Le similicuir employé peut présenter différentes couleurs, variant de plusieurs nuances de marron, au noir ou encore au vert. La largeur des pattes est de 10 centimètres.
La base de la patte est en partie repliée sur elle-même et cousue avec une bande de feutre de même largeur. Cette dernière est pliée en deux pour servir de rembourrage et d'isolation. Les bords inferieurs de la patte, qui seront fixe sur la lame ressort, reçoivent de part et d'autre des passants qui permettront de relier les pattes entre elles a l'aide de lacets. C'est ce qui permettra d'ajuster la taille du casque Ces passants sont d'abord en cuir blanc à l'instar du casque Ssh 60 (sans doute un reliquat de patte de coiffe de la chaîne de production du casque Ssh 60), puis rapidement dès 1973 ils sont constitués de deux morceaux de lacet pliés en deux. Ils sont solidarisés par un trait de couture pratiqué en Z.
La base de chaque patte de coiffe est perforée de deux trous distants de 75 mm pour permettre leur fixation sur les lames ressort fixées à la bombe par des attaches parisiennes de petite longueur. Ces attaches parisiennes sont anodisées afin de les protéger de l'oxydation.
La seconde moitié de la longueur de chaque patte de coiffe est découpé en biseau. La pointe est taillée en forme de sablier, repliée sur elle-même, elle est solidarisée par un trait de couture qui n'est pas pratiqué sur toute la largeur. Cette pliure constitue un fourreau pour le passage du lacet de réglage en profondeur de la coiffe.
Chaque patte de coiffe est reliée à sa voisine par un lacet dont la tension permet le réglage de la circonférence de la coiffe. En relâchant la tension de chaque laçage, les pattes de coiffe sont plaquées contre les parois du casque, permettant ainsi le port d'une coiffure fourrée en condition hivernale.
![]() Coiffe de couleur noire, exemplaire de 1973. |
![]() Coiffe de couleur brune, exemplaire de 1975. |
![]() Coiffe de couleur noire, exemplaire de 1975. |
![]() Coiffe de couleur brune, exemplaire de 1978. |
![]() Coiffe de couleur brune, exemplaire de 1987. |
![]() Coiffe de couleur brun/rouge, exemplaire de 1989. |
Les marquages.
Quelques exemples de tampons de contrôle (ne tient pas compte de l'ordre chronologique).
Tout comme les bombes, les coiffes peuvent comporter des marques de contrôle tamponnés sur le revers en toile du similicuir. Ces marques sont constituées d'un cercle contenant un numéro. Ces numéros peuvent aussi occasionnellement être contenu dans un rectangle ou être sans contour.
Quelques exemples de date de fabricantion ou numérotation. (ne tient pas compte de l'ordre chronologique).
On observe aussi des dates tamponnées au revers des pattes de coiffe. Ces dates peuvent être indiquée en mois année sur deux chiffres, ou seulement l'année sur quatre chiffres. Ces dates correspondent généralement à la date présente dans le tampon de l'usine du casque.
La jugulaire :
![]() Dimension support jugulaire. |
![]() |
Montage jugulaire.
La jugulaire du casque Ssh 68 est dans un premier temps identique à celle installée dans le casque Ssh 60.
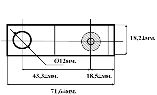
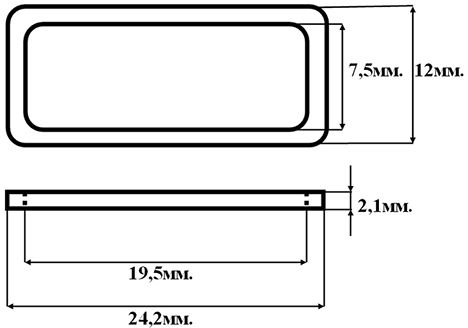
La jugulaire est fixée au casque grâce à des anneaux rectangulaires de section carré de dimension 12 x 24 millimètres. Ceux-ci sont fixée sur la bombe grâce à un fourreau métallique, replié sur lui-même, et retenu par un rivet latéral. Ces rivets sont identiques à ceux employés pour la mise en place des supports de coiffe (section carrée). La partie interne du fourreau est à nouveau replié sur lui-même pour recouvrir le rivet.
Cet ensemble métallique est recouvert d'une bande de cuir qui entoure l'ensemble et permet aussi le passage de la petite bande de cuir ou de toile qui est rivetée à l'extrémité de chaque jugulaire.
Jugulaire avec boucle à ardillon.

Jugulaire, vue d'ensemble (revers).

Jugulaire, vue d'ensemble (envers).

Jugulaire fermée.
![]() Patelette en cuir de protection et anneau de maintien de l'exécent de jugulaire. |
![]() Tampon de contrôle. |
![]() Schéma jugulaire. |
Le casque Ssh 68 est d'abord équipée de la jugulaire du casque Ssh 60 avec une fermeture par boucle à ardillon. |
Jugulaire avec boucle coulissante.

Jugulaire, vue d'ensemble (revers).

Jugulaire, vue d'ensemble (envers).

Jugulaire fermée.
![]() Boucle coulissante. |
![]() Patelette en cuir. |
À partir de 1987 la boucle à ardillon est supprimée au profit d'une boucle coulissante fabriquée en acier anodisé. Cette boucle deviendra d'ailleurs assez commune dans les futures casques de fabrication russes.
Cette boucle est retenue à l'aide d'un rivet tubulaire et mesure environ 24 centimètres de long. Elle est doublée d'un rectangle de cuir aux angles biseautés retenu par deux points de couture.
La seconde partie de la jugulaire, dont l'extrémité est taillée en pointe, mesure environ 30 centimètres de long. Elle possède un anneau en cuir destiné à retenir l'excédent de jugulaire une fois passée dans la boucle coulissante de fermeture.
Le conditionnement :
![]() 1990. |
![]() |
Conditionnement dans du papier ciré.
Les casques sont conditionnés dans du papier ciré puis emballés par 30 unités avant distribution dans des caisses en bois où ils sont répartis comme suit :
- Taille 1 – 12 pièces.
- Taille 2 – 16 pièces.
- Taille 3 – 2 pièces.
On observe aussi des conditionnements répartis 15 - 13 - 2 et 15 - 14 - 1.
Chaque caisse comprend un manuel d'instruction et une liste de colisage.
Le camouflage additionnel :
![]() Exemplaire camouflé par spray de peinture. |
![]() |
Bien qu'il n'existe aucun artifice de camouflage additionnel officiel dans l'armée soviétique pour les casques en acier de manière générale, on observe toutefois des pratiques individuelles ou collectives d'amélioration du camouflage du casque Ssh 68.
Une pratique courante est l'application de peinture sur le casque, appliquée en forme de tâche afin de casser la forme du casque, ce qui fut observé notamment durant la guerre d'Afghanistan.
Plus tardivement, on observe l'application de peinture appliquée en spray afin d'obtenir un effet bariolé.
Camouflage VSR 3-TsV.
![]() Vue de biais. |
![]() Vue de dessus. |
![]() Détails maintien. |
![]() Vue à plat. |
L'utilisation de couvre-casque en toile bariolé est bien souvent faite à l'initiative du soldat en employant un morceau de toile coincé entre la bombe et la coiffe du casque.
Toutefois on observe des couvre-casques produits dans des ateliers régimentaires dont la conception est souvent similaire. Ces couvre-casques sont fabriqués à partir de deux à trois morceaux de toile cousus longitudinalement. Un ourlet est pratiqué à la base du couvre-casque pour le passage d'un lacet assurant le maintien sur le casque.
À l'instar de ce couvre-casque arborant le schéma de camouflage VSR 3-TsV qui est un motif à trois couleurs composées de formes irrégulières alignées verticalement avec des couleurs vert foncé et brune sur un fond vert olive. À noter qu'il existe une multitude de variantes de ce schéma de camouflage, notamment sur l'amplitude des tâches et la teinte des couleurs employées.
Il a été développé à la fin des années 1980 après une période d'essai de huit ans. Initialement appelé "barvikha"), il est désormais plus connu sous le nom de VSR (pour "Vooruzhennyye sily Rossii" ou Forces armées russes) ou "dubok" (petit chêne). Il a été mis en service en 1991, et seulement dans un premier temps au sein d'unités spécialisées telles que les forces aéroportées (VDV).
À partir de 1994, ce schéma de camouflage est distribué de manière générale à l'ensemble des unités terrestres des forces armées russes, ainsi qu'à de nombreuses unités du ministère des affaires intérieures (MVD). Il fut employé durant les années 90 jusqu'à l'adoption du modèle "Flora" en 1998.
Camouflage ukrainien "boutane".
![]() Vue avant. |
![]() Vue de dessus. |
![]() Détails maintien. |
![]() Vue à plat. |
En 1981 l'Union Soviétique sort un nouveau modèle de camouflage, le TTsKo ("tritsvetnaia kamuflirovannaia odezhda") ou camouflage à 3 couleurs. Celui-ci est plus connu sous le nom de "Бутан" (boutane) et aura une longue carrière, y compris dans les ex-république soviétique.
Les modèles de couvre-casques présentés sont ukrainiens. Ils sont fabriqués à partir de trois morceaux de toile cousus longitudinalement et un élastique est inséré dans l'ourlet pratiqué à sa base afin d'en assurer le maintien. Certains exemplaires peuvent comporter des boutonnières pour l'ajout de branchage.
Ce couvre-casque est conçu pour s'adapter à tout type de casque d'origine soviétique.
Camouflage ukrainien "boutane" désert.
![]() Vue avant. |
![]() Vue de dessus. |
![]() Détails maintien. |
![]() Vue à plat. |
Le camouflage "boutane" à dominance verte fut aussi décliné dans une version présentant des tâches de couleur sable/beige pour les milieux désertiques.
Quelques exemples

Casque utilisé par l'armée afghane, coiffe doublée de pages d'un vieux registre.

Casque utilisé par les forces armées azerbaïdjanaises.


Casques utilisés par l'armée cambodgienne.





























































































